渭南楼市一周数据回顾 3月中期渭南楼市平稳走势
扫描到手机,新闻随时看
扫一扫,用手机看文章
更加方便分享给朋友
搜狐焦点渭南楼市一周播报,网罗渭南楼市较新动态,关注全面楼盘信息,惊爆楼市最全优惠。渭南楼市一周重点数据回顾,根据渭南信息公示网显示,渭南楼市网上签约套数50套,签约面积6135.45㎡,其中住宅套数48套,住宅面积6014.04㎡;商用套数1套,商用面积59.53㎡,其他套数1套,面积61.88㎡。

一、渭南楼市上周(2023年3月13日-3月19日)新房市场成交信息
渭南楼市网上签约套数50套,签约面积6135.45㎡,其中住宅套数48套,住宅面积6014.04㎡;商用套数1套,商用面积59.53㎡,其他套数1套,面积61.88㎡。

环比上周,总成交下跌5套,其中签约面积下跌154.12㎡;住宅下跌4套,住宅面积上涨82.42㎡;商用套数下跌1套,商用面积下跌76.56㎡;其他套数持平,面积上涨4.86㎡。
二、渭南楼市上周(2023年3月13日-3月19日)二手房市场交易统计
2023年3月13日-3月19日,渭南楼市二手房市场网上签约套数69套,签约面积7781.14㎡;其中住宅套数62套,住宅面积7272.31㎡;商用套数0套;其他7套,其他面积508.83㎡;

环比上周,总成交上涨4套,其中签约面积上涨922.69㎡;其中住宅上涨3套,住宅面积上涨849.38㎡;商用套数同上周持平;其他面积上涨1套,其他面积上涨73.31㎡。
三、3月中期 渭南楼市平稳走势
作为一个渭南购房者,除了关心各大楼盘的价格走势之外,也应当了解清楚渭南楼市的走势情况,以便更好的决定何时入手最为划算。就目前渭南楼市来看,经过疫情过后春节前后的回暖之后,结合网签数据以及搜狐焦点渭南站每月数据报告来看,目前已经进入一个相对平稳的状态。一方面是成交价格和成交量的持续上涨,另一方面则是大部分售楼部上客量及成交量的变化情况。
短期内,包括光合宸院、中海·学府里、渭南万科城、中创·天曜、通达·丽景沄上、上上玫瑰园等在内的多家楼盘企稳势头明显,且有一定的上升势头。其中,通达·丽景沄上吾悦广场旁的位置优越,再加上五证齐全封顶状态,得到了部分购房者青睐。
光合宸院最近的上升势头明显,作为2月份渭南楼市销冠,着实令人惊喜,从地段、产品、施工进度,再加上过往开发经验,的确给了购房者强有力的下决定信心。
对于房地产市场未来发展趋势,搜狐焦点渭南站从今年来看,在一系列政策作用下,随着经济转暖,房地产市场出现了一些积极变化。总的来看,渭南楼市目前房地产市场还处在调整阶段,后期随着经济逐步改善,市场预期转好,房地产市场有望逐步企稳。
此外,稳住渭南房地产,一方面要坚持因城施策、精准施策、一城一策,大力支持刚性和改善性住房需求,提振信心,促进房地产市场企稳回升、平稳健康发展;另一方面要增加保障性租赁住房供给和长租房建设,重点解决好新市民、青年人的住房困难问题。

四、渭南楼市上周(2023年3月13日-3月19日)热门楼盘

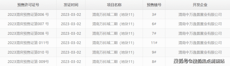
五、渭南楼市上周(2023年3月13日-3月19日)预售证公示信息
渭南楼市上周(2023年3月13日-3月19日)暂无预售证信息发布,以下是近期预售证发布情况展示;

六、渭南楼市上周土地挂牌出让信息
渭南楼市(2023年3月13日-3月19日)期间,渭南楼市暂无土地挂牌出让信息,以下是往期信息公示。

七、渭南一周热点资讯
1、力争全部复工,多城市下达2023年“保交楼”任务
今年“两会”期间,“保交楼”依然是房地产领域的热词。在谈及今年房地产工作时,住房和城乡建设部部长倪虹谈道,保交楼工作的扎实推进有助于市场信心的恢复。全国政协委员张懿宸也建议,推出针对“保交楼”的专项REITs(不动产投资信托基金)工具,解决烂尾楼的资金问题,进一步化解烂尾楼风险。
2、重要资讯|2023年住房公积金最新政策
随着政府对购房的多项政策的退出,住房公积金也相应做出了调整,今天小编带您看一下住房公积金最新做出的政策调整。(点击查看延伸阅读)
3、3个数据、1个现实,带你了解真实的渭南楼市
2023年开春以来,你一定在各大网站资讯、自媒体,甚至朋友圈了解到楼市的发展动向,楼市的春天、热度、涨价...等关键词,铺天盖地的涌现。(点击查看延伸阅读)
4、看完西渭两城纲要文件 更想在这买房了!
想要了解一座城市的定位、前景和目标,它的长期战略规划一定要看!而对于渭南人来说,今年值得解读的高价值纲领文件,一定是《渭南市国土空间总体规划(2021-2035年)草案》,它包含了农业空间、生态空间、城镇空间、文化空间、资源要素配置、中心城区规划等战略部署,对各行业发展都相当重要,当然房地产市场也不例外。(点击查看延伸阅读)
点击查看其他月份数据:https://weinan.focus.cn/zixun/shuju/
声明:本文由入驻焦点开放平台的作者撰写,除焦点官方账号外,观点仅代表作者本人,不代表焦点立场。
