渭南楼市一周数据 热点城市改善型需求维持上升态势
扫描到手机,新闻随时看
扫一扫,用手机看文章
更加方便分享给朋友
搜狐焦点渭南楼市一周播报,网罗渭南楼市较新动态,关注全面楼盘信息,惊爆楼市最全优惠。渭南楼市一周重点数据回顾,根据渭南信息公示网显示,渭南楼市上周网上签约套数51套,签约面积6557.87㎡,其中住宅套数50套,住宅面积6493.94㎡;商用套数1套;其他套数为0套,其他套数面积为0㎡。

一、渭南楼市上周(2025年2月17日-2月23日)新房市场成交信息
渭南楼市一周重点数据回顾,根据渭南信息公示网显示,渭南楼市上周网上签约套数51套,签约面积6557.87㎡,其中住宅套数50套,住宅面积6493.94㎡;商用套数1套,商用面积63.93㎡;其他套数为0套。

环比上周,总成交上涨10套,其中签约面积上涨1246.1㎡;住宅上涨9套,其中面积上涨1182.1㎡;商用套数上涨1套,面积上涨63.93㎡;其他套数持平(0套);其他面积持平(0㎡)。
二、渭南楼市上周(2025年2月17日-2月23日)二手房市场交易统计
渭南楼市二手房市场网上签约套数75套,签约面积8332.49㎡;其中住宅71套,住宅面积7780.87㎡;商用套数为0,商用面积0㎡;其他套数为4套,其他面积为551.62㎡。

环比上周,渭南楼市二手房总成交上涨26套,签约面积上周上涨3071.5㎡;其中住宅上涨24套,住宅面积上涨7780.87㎡;商用套数持平(0套),其他面积持平(0㎡);其他套数上涨2套,其他面积上涨453.33㎡。
三、热点城市改善型需求维持上升态势
1月份,一线城市新建商品住宅销售价格环比上涨0.1%,涨幅比上月回落0.1个百分点。其中,北京下降0.4%,广州持平,上海和深圳分别上涨0.6%和0.2%。二线城市新建商品住宅销售价格环比由上月持平转为上涨0.1%,为2023年6月以来首次上涨。三线城市新建商品住宅价格环比下降0.2%,降幅均与上月相同。
1月份,一线城市二手住宅销售价格环比上涨0.1%,涨幅比上月回落0.2个百分点。其中,北京、上海和深圳分别上涨0.1%、0.4%和0.4%,广州下降0.2%。二线城市二手住宅环比下降0.3%,降幅与上月相同。三线城市二手住宅销售价格环比下降0.4%,降幅均与上月相同。

四、渭南楼市上周(2025年2月17日-2月23日)热门楼盘

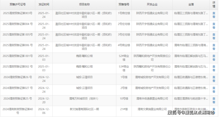
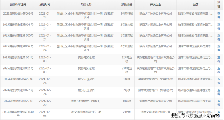
五、渭南楼市上周(2025年2月17日-2月23日)预售证公示信息
渭南楼市上周(2025年2月17日-2月23日),曦和公馆S2、曦和公馆S3商业配套、贤和府1#商住楼2#住宅楼3#住宅楼4#商业楼取得预售许可证,以下是近期公示信息。

六、渭南楼市上周土地挂牌出让信息(2025年2月17日-2月23日)
渭南楼市(2025年2月17日-2月23日)期间渭南市自然资源和规划局挂牌1宗商业(公共设施营业网点用地)用地挂牌出让信息,以下是近期土拍信息展示:

七、渭南一周热点资讯
1.2月LPR维持不变:1年期为3.1%,5年期以上为3.6% (点击查看详情)
2月20日,中国人民银行授权全国银行间同业拆借中心公布,2025年2月20日贷款市场报价利率(LPR)为:1年期LPR为3.1%,5年期以上LPR为3.6%。以上LPR在下一次发布LPR之前有效。来源:财经网…
2月20日,中国人民银行授权全国银行间同业拆借中心公布,2025年2月20日贷款市场报价利率(LPR)为:1年期LPR为3.1%,5年期以上LPR为3.6%。以上LPR在下一次发布LPR之前有效。
2.一大波“地王”项目即将上新,有望带动改善住房需求释放(点击查看详情)
近期,从青岛、上海,到合肥、成都,多个城市均有“地王”项目出现新进展,其中有的项目公布了最新规划、有的项目已然发布了案名,引发市场广泛关注。
在过往地产周期中,“地王”对开发商来说,是喜忧参半的存在:有的“地王”项目拿地成本过高、叠加市场价格端调控,入市节奏十分缓慢;有的则遇到市场热销周期,项目入市快、去化好。
当下,能被房企拍到“地王”价的项目,大多处于核心城市的核心板块。克而瑞表示,在如今的市场大背景下,高能级核心区域的高价土地,去化和盈利反而更有保障,已成为房企的头号“避险湾”,同时也是地方政府“稳定市场、优化增量”的重要抓手。
3.住建部:加快推进配售型保障性住房轮候库建设工作(点击查看详情)
住房城乡建设部表示,各地要紧抓政策机制出台。要出台配售型保障性住房管理办法,制定在本市县统一适用的配售条件和标准,明确保障对象、准入条件、轮候排序、退出机制等管理流程和政策指引,建立常态化申请受理机制和部门联合审核机制。
同时,要抓好规划计划编制。要根据本地区配售型保障性住房轮候需求,研究制定配售型保障性住房建设筹集行动方案,将轮候需求纳入年度建设筹集计划。
4.2024渭南固定资产投资增长 11.5%,未来这类房产必将成 “香饽饽”(点击查看详情)
2月18日上午渭南市第六届人民代表大会第五次会议开幕。随着2024年度我市“固定资产投资增长11.5%”的数据公布,更是瞬间引发大家对于2025年度资产配置的思考……
一直以来,房产不仅是人们安居乐业的根本,更是一种稳定且具有潜力的投资方式。它承载着家的温暖,也蕴含着财富增值的可能。在经济发展的浪潮中,房产投资的稳定性和保值性,使其成为众多家庭资产配置的重要选择。
5.期房的坑 你还要踩多久?广青东府实景现房,完胜期房N条街!(点击查看详情)
在这个瞬息万变的渭南楼市里,你是否还在为选择期房而犹豫不决?是否担心交房遥遥无期,质量难以保证?是否因为选好后交不了房,影响到了自己生活的各个方面!今天,勇哥就为大家来一场期房与现房的终极对决,看看渭南热销楼盘,广青东府实景现房如何以绝对优势,让你毫不犹豫地做出正确选择!
点击查看其他月份数据:https://weinan.focus.cn/zixun/shuju/

声明:本文由入驻焦点开放平台的作者撰写,除焦点官方账号外,观点仅代表作者本人,不代表焦点立场。
