渭南楼市一周数据回顾 2022.10.10-10.16
扫描到手机,新闻随时看
扫一扫,用手机看文章
更加方便分享给朋友
搜狐焦点渭南楼市一周播报,网罗渭南楼市较新动态,关注全面楼盘信息,惊爆楼市最全优惠。渭南楼市一周重点数据回顾,根据渭南信息公示网显示,渭南楼市上周网上签约套数0套,签约面积0㎡,其中住宅套数0套,住宅面积0㎡;商用套数0套,商用面积0㎡。

一、渭南楼市上周(2022.10.10-10.16)新房市场成交信息
渭南楼市上周网上签约套数0套,签约面积0㎡,其中住宅套数0套,住宅面积0㎡;商用套数0套,商用面积0㎡。

二、渭南楼市上周(2022.10.10-10.16)二手房市场交易统计

三、居家生活,让渭南人对买房有了新的思考
受渭南当地疫情影响,上周全渭南基本处于暂停时期,渭南楼市也受到疫情的冲击。但渭南人对于买房的需求却并未减少,相反,居家生活让大家对房子的居住需求更为清晰。其中对于户型的认知、周边配套齐全的重要性更为看中,这让一直以来以超10米巨幕景观阳台的中创·天曜广受关注,除此之外,位于市政核心区三开间朝南、动静分离优势突出的桂语蘭园也开始初露锋芒。
除了以上对于户型优势的关注外,市中心黄金位置的通达·丽景沄上,因占据渭南吾悦广场的地段优势,也受到热宠。
四、渭南楼市上周(2022.10.10-10.16)热门楼盘

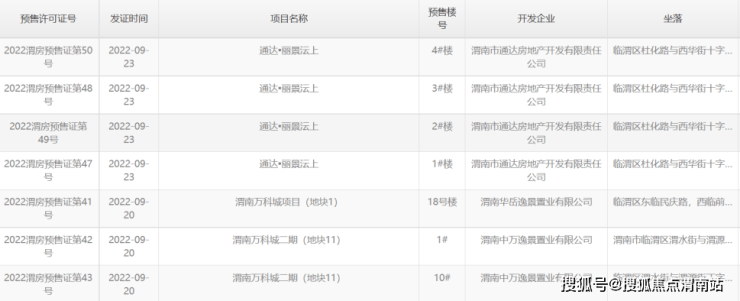
五、渭南楼市上周(2022.10.10-10.16)预售证公示信息
渭南楼市(2022.10.10-10.16)暂无预售信息公示,以下是近期概况。

六、渭南楼市上周较新土地挂牌信息
渭南楼市(2022.10.10-10.16),在此期间,暂无土地挂牌信息。
七、渭南一周热点资讯
1、“保交楼”举措加速落地,多地停工项目被盘活近期,各地的“保交楼”举措正加速落地,停工楼盘纷纷被盘活。
10月11日,祥生控股集团公告称,绍兴市人民政府主导成立的房地产纾困稳保产业基金已落地,公司位于诸暨市的城市之光项目或成为稳保基金项下潜在受益人之一,基金注入总额为7亿元。这也是浙江排名前列房地产纾困基金的落地项目。
2、2022年 渭南的企业家都在谈论这里如果说渭南的企业家们坐在一起,那么他们会讨论什么?城市发展方向?企业运营理念?人员管理办法?
3、居家慢生活丨在渭南未来选择它的人会更多!
居家的日子,你有没有因为宅家而闷闷不乐,是因为出租房里隔音效果差、黑白颠倒的邻居,还是起的比鸡还早“大嗓门”的孩子,或者是居家办公没有合适空间的原因呢
点击查看其他月份数据:https://weinan.focus.cn/zixun/shuju/
声明:本文由入驻焦点开放平台的作者撰写,除焦点官方账号外,观点仅代表作者本人,不代表焦点立场。
