渭南楼市一周数据回顾 存量房贷利率调整预期再升温
扫描到手机,新闻随时看
扫一扫,用手机看文章
更加方便分享给朋友
搜狐焦点渭南楼市一周播报,网罗渭南楼市较新动态,关注全面楼盘信息,惊爆楼市最全优惠。渭南楼市一周重点数据回顾,根据渭南信息公示网显示,渭南楼市上周网上签约套数39套,签约面积5433.19㎡,其中住宅套数35套,住宅面积5021.57㎡;商用套数为1套。商用面积为206.56㎡;其他套数为1套,其他面积205.06㎡。

一、渭南楼市上周(2024年9月2日-9月8日)新房市场成交信息
渭南楼市一周重点数据回顾,根据渭南信息公示网显示,渭南楼市上周网上签约套数39套,签约面积5433.19㎡,其中住宅套数35套,住宅面积5021.57㎡;商用套数为1套。商用面积为206.56㎡;其他套数为1套,其他面积205.06㎡。

环比上周,总成交持平39套,其中签约面积上涨165.19㎡;住宅持平35套,住宅面积上涨789.03㎡;商用套数持平1套,商用面积下跌18.81㎡;其他套数下跌2套,其它面积上涨24.35㎡。
二、渭南楼市上周(2024年9月2日-9月8日)二手房市场交易统计
2024年9月2日-9月8日,渭南楼市二手房市场网上签约套数64套,签约面积7307.44㎡;其中住宅套数57套,住宅面积6697㎡;商用套数为0;其他套数为7套,其他面积610.44㎡。

环比上周,渭南楼市二手房总成交上涨3套,其中签约面积下跌888.53㎡;其中住宅上涨1套,住宅面积下跌1694.24㎡;商用套数持平为0;其他套数上涨2套,其他面积上涨225.52㎡。
三、存量房贷利率调整预期再升温
近期,对于存量房贷下调的可能1性、个人房贷投放政策趋势,多位银行管理层人士在业绩发布会上释放了信号。
9月2日,招商银行召开2024年中期业绩交流会,针对存量房贷允许转按揭对银行的影响,该行行长王良表示,目前政策还没有得到确认,人民银行、金融监管总局还没有这方面的意见,也尚未征求过商业银行的意见。若后续相关政策推出,会对银行业的存量按揭利率带来一定负面影响,宏观管理部门可能会做好充分论证和研究,推出相关的政策。累计业绩来看,1-7月百强房企实现销售操盘金额23821亿元,虽然同比仍下降36.5%,但降幅再收窄1个百分点,已实现连续6个月收窄。
谈及按揭贷款投向,邮储银行零售业务总监梁世栋在该行9月2日召开的2024年中期业绩发布会上强调,“下一步邮储银行将紧抓政策指引,延续上半年的发展策略和发展的优势,坚持支持刚需和改善型的住房需求,上半年超90%的业务都是此类需求;坚持一二手房并重;坚持在重点区域发力,一个是高能级市场,一个是县域市场,持续保持住房按揭业务的平稳健康有序发展”。
有观点认为,存量房贷利率是否调整需依赖监管政策的指导和支持,若进行下调,银行需要通过优化资产配置、提高其他业务的盈利能力或降低成本来弥补损失。
扫描下方二维码了解渭南楼市各大楼盘信息。另外,也可以直接拨打0913-2074369/13335353317,联系搜狐焦点渭南站购房者专家,了解渭南楼市概况。

四、渭南楼市上周(2024年9月2日-9月8日)热门楼盘

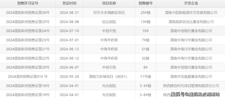
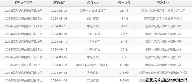
五、渭南楼市上周(2024年9月2日-9月8日)预售证公示信息
渭南楼市上周(2024年9月2日-9月8日),经开未来城25#楼19套房源获得预售证,以下是近期公示信息。

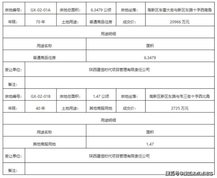
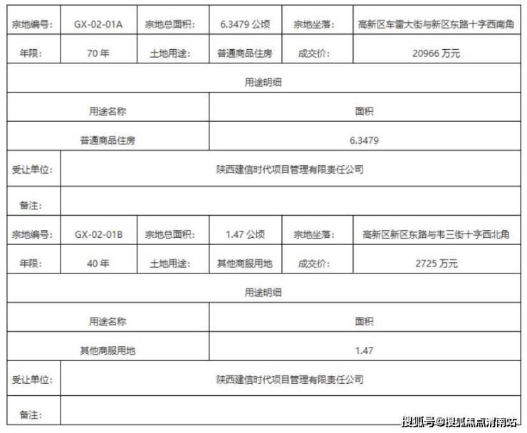
六、渭南楼市上周土地挂牌出让信息(2024年9月2日-9月8日)
渭南楼市(2024年9月2日-9月8日)期间,暂无土地挂牌出让信息,以下是近期土拍信息展示。
七、渭南一周热点资讯
1、购房者心中有一把标尺 他们因中创而聚首(点击链接查看详细信息)
现如今在渭南买房,正值国家各项利好政策频发,购房门槛降低、压力减小。到底如何买房?成为了老百姓最关注的话题。本期内容,我们从渭南楼市销量榜首常客——中创·天悦的业主访谈过程中,一起来看看,大家买房最关心什么话题?
2、经典永不过时 纯板小高层才是渭南人居天花板(点击链接查看详细信息)
当你匆忙奔走于城市霓虹间,是否也时常向往拥有一处静谧舒居,这便是“纯板小高层”的魅力所在。作为一名地地道道的渭南人,小编有责任给大家找寻一处“魅力”满分的楼盘,总高16F的广青东府,一梯一户、现房现证,了解后你会谢谢我。
3、突破传统!渭南全城关注 6层墅质真洋房获誉不断(点击链接查看详细信息)
近期,渭南热门楼盘高新璞墅部分信息一经推出,便受到业内外好评不断。诚然,渭南市中心核心板块,终于有了纯改善产品!渭南最贵豪宅8500元/㎡起,高新璞墅6层墅质真洋房,建面约123-223㎡臻品艺墅,即将热销全城。
4、渭南楼市9月都有哪些热门楼盘?房价多少?(点击链接查看详细信息)
渭南楼市9月都有哪些热门楼盘?房价多少?根据搜狐焦点渭南站统计,下面将渭南楼市8月热门楼盘给大家做一个分享,篇幅有限,了解更多好房,上搜狐焦点渭南站,大家可以拨打搜狐焦点免费看房车预热热线13335353317,渭南全城免费车接车送,专业指导,优惠多多。
5、存量房贷利率调整预期再升温(点击链接查看详细信息)
在楼市波动,提前还贷热度未消的背景下,银行个人房贷业务承压明显。9月2日,北京商报记者统计发现,以合并报表为口径,今年上半年,42家A股上市银行个人住房贷款余额合计为34.08万亿元,相较上年末缩减3174.21亿元。多数银行个人住房贷款不良率有所上升,资产质量面临挑战。现阶段,市场对存量房贷利率调整的呼声逐渐升温,是否会进行下调、如何影响房贷业务、下调之后银行如何进一步优化资产配置、提高其他业务盈利能力也值得关注。
点击查看其他月份数据:https://weinan.focus.cn/zixun/shuju/

声明:本文由入驻焦点开放平台的作者撰写,除焦点官方账号外,观点仅代表作者本人,不代表焦点立场。
