渭南楼市2024年8月新房成交均价6300元/㎡ 成交258套
扫描到手机,新闻随时看
扫一扫,用手机看文章
更加方便分享给朋友
渭南楼市2024年8月数据报告,分别从热点事件、土地市场信息、预售证信息、新房成交数据、市场分析、区域分析多角度阐述2024年8月渭南房地产市场。
一、渭南楼市8月政策大事件回顾
1、渭南本土名企红盘 到底是如何引领楼市创新浪潮?(点击链接查看详细信息)
在渭南,一个楼盘是否会被市场接受?是否会引起购房者强烈关注?这基本上取决于交付稳定性、产品的优越性,以及是否具有高品质、高性价比。当然,大部分楼盘可能具有1-2个优势就已经难能可贵了。但对于渭南楼市销量榜首的常客——中创·天悦而言,上述优势全部拿下,热销不断就是老百姓对项目的高度肯定。
2、眼见为实的安全感 是渭南这家楼盘给的(点击链接查看详细信息)
期房只能依赖宣传资料,以及置业顾问口头讲解,所有的预期规划,最终交付仍是未知数。广青东府全盘实景呈现,现房现证。纯板小高层户户南北通透,小区内景观打造多层次、多变化起伏自然流畅的中式园林盛景。园林、景观、绿化、小区配套一切看得见、摸得着,亲身体会美好。
3、都市的心脏=未来的潜力 渭南置业看这里……(点击链接查看详细信息)
地段与资源,是房产价值的坚实基础,越中芯,价值越稳固。对房产的拥有,就是对城市资源的占有。那么如何掌握渭南最优质的各类资源,一套选址好的家,就是赢在方方面面的王牌。吾悦旁即将交付的通达·丽景沄上,绝对称得上心头引以为傲的“缪斯”。
4、突破传统!渭南全城关注 6层墅质真洋房获誉不断(点击链接查看详细信息)
近期,渭南热门楼盘高新璞墅部分信息一经推出,便受到业内外好评不断。诚然,渭南市中心核心板块,终于有了纯改善产品!渭南最贵豪宅8500元/㎡起,高新璞墅6层墅质真洋房,建面约123-223㎡臻品艺墅,即将热销全城。
5、渭南名校旁都有哪些高性价比楼盘?(击链接查看详细信息)
渭南名校旁都有哪些高性价比楼盘?相信这是每个在渭南看房选房的朋友,最关注的话题。点击以上链接,搜狐焦点渭南站就给大家整理一下这些信息,希望能帮到大家选好房。
6、8月全国房企直面偿债高峰 渭南哪些房企最为靠谱?(点击链接查看详细信息)
8月全国房企直面偿债高峰,渭南哪些房企最为靠谱?近期,包括旭辉、富力、龙湖在内的多家房企发布有关兑付信息,面临不小的压力。那么结合渭南楼市实际情况来看,哪些房企最为靠谱?能够给老百姓创造一个良好的购房环境,接下来搜狐焦点就为大家做一详细介绍。
二、渭南楼市8月土地市场信息
渭南楼市8月暂无土地招拍挂信息,以下是近期信息展示。
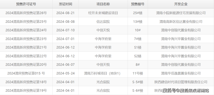
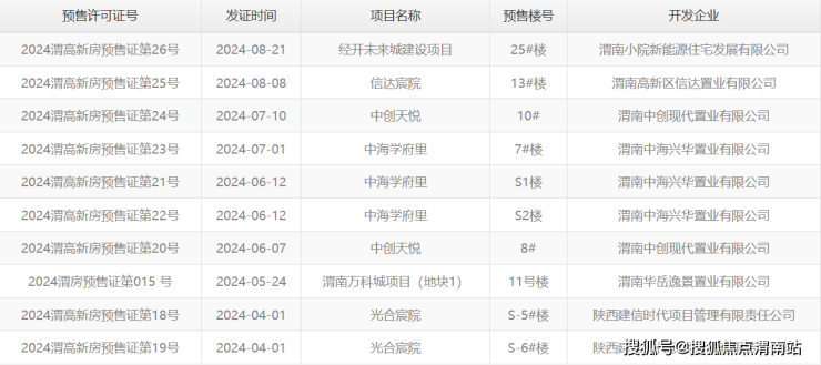
三、渭南楼市8月预售证信息
2024年8月8日,信达·宸院13#楼获得预售证,共计房源130套;经开未来城8月21日25#楼获得预售证,共计19套房源;8月合计149套房源入市,以下是近期公示信息。

渭南楼市2024年1-8月份累计入市房源为2066套。


四、渭南楼市8月新房成交数据,成交均价6300元/㎡ 成交258套
渭南楼市2024年8月新房成交数据报告:搜狐焦点网数据中心针对渭南楼市在售的43个楼盘进行抽样调查统计,渭南楼市2024年8月新房成交均价6300元/㎡,成交套数258套,成交面积29619.99㎡。
2024年8月新房成交均价6300元/㎡,环比2024年7月新房成交均价6290元/㎡,每平方米上涨10元;同比2023年8月新房成交均价6488元/㎡,每平方下跌188元。

2024年8月新房成交套数258套,环比2024年7月新房成交套数226套,下跌32套;同比2023年8月新房成交套数313套,下跌55套。

六、渭南楼市8月销量前十楼盘排行
据搜狐焦点渭南站统计,2024年8月渭南新房成交TOP10楼盘分别为:渭南万科城、中创·天悦、保亿文阙台、秦川学府、惠风·天和、中海学府里、桂语蘭园、恒昌·名门胜地、豪润时光里、光合宸院。

虽说是渭南楼市传统淡季,但一些传统热门楼盘还是一如既往的热销,诸如渭南万科城、中创·天悦、保亿文阙台等;其中,最引人注目的当属中创·天悦,目前实景准现房呈现,约119-141㎡宽厅、端厅户型火热销售中。
渭南纯改善楼盘当中,惠风·天和也是实景准现房热销,该项目预计10月底提前交付。恒昌·名门胜地项目,作为目前为数不多的四代住宅,也是受到了大量客户关注。
除此之外,秦川学府、中海学府里、桂语蘭园、光合宸院等项目,也在整个8月份取得了不错的成绩。
在接下来的9月份开始,就到了开发商年末冲刺的关键时刻,预计后期“以价换量”将成为楼市主旋律。

七、渭南楼市7月新房成交量 中心区域位列第一
根据搜狐焦点网数据中心统计,2024年7月,渭南中心区域新房成交占比58位列第一,高新区成交量占比37%,城东区成交量占比5%。

从成交均价来看,渭南楼市8月,高新区新房成交均价6381元/㎡,中心区成交均价6490元/㎡,城东区成交均价5350元/㎡。

从实际数据看,渭南楼市8月份,无论是环比同比,和前期基本处于平稳状态,这对于传统淡季的8月份来说,基本属于平稳着陆。"随着‘金九银十’传统旺季来临,渭南房企推盘促销力度或将加大,叠加政策支持进一步落地显效,短期内核心城市市场活跃度预计将小幅回升。”
击查看其他月份数据:https://weinan.focus.cn/zixun/shuju/

声明:本文由入驻焦点开放平台的作者撰写,除焦点官方账号外,观点仅代表作者本人,不代表焦点立场。
