渭南楼市一周数据 金融组合拳加力稳楼市
扫描到手机,新闻随时看
扫一扫,用手机看文章
更加方便分享给朋友
搜狐焦点渭南楼市一周播报,网罗渭南楼市较新动态,关注全面楼盘信息,惊爆楼市最全优惠。渭南楼市一周重点数据回顾,根据渭南信息公示网显示,渭南楼市上周网上签约套数90套,签约面积10572.75㎡,其中住宅套数88套,住宅面积10474.46㎡;商用套数0套;其他套数为2套,其他套数面积为98.29㎡。

一、渭南楼市上周(2025年2月10日-2月16日)新房市场成交信息
渭南楼市一周重点数据回顾,根据渭南信息公示网显示,渭南楼市上周网上签约套数41套,签约面积5311.8㎡,其中住宅套数41套,住宅面积5311.8㎡;商用套数0套;其他套数为0套。

环比上周,总成交上涨16套,其中签约面积上涨2472.01㎡;住宅上涨19套,其中面积上涨2722.32㎡;商用套数下跌2套,面积下跌209.97㎡;其他套数持平0套。
二、渭南楼市上周(2025年2月10日-2月16日)二手房市场交易统计
渭南楼市二手房市场网上签约套数39套,签约面积4558.33㎡;其中住宅37套,住宅面积4416.03㎡;商用套数为0,商用面积0㎡;其他套数为2套,其他面积为142.3㎡。
渭南楼市二手房市场网上签约套数49套,签约面积5260.95㎡;其中住宅47套,住宅面积5162.66㎡;商用套数为0;其他套数为2套,其他面积为98.29㎡。

环比上周,渭南楼市二手房总成交上涨10套,签约面积上周上涨702.62㎡;其中住宅上涨10套,住宅面积下跌746.63㎡;商用套数持平0套;其他套数持平2套。
三、金融组合拳加力稳楼市
近期,多地金融监管局和多家金融机构密集召开工作会议,部署2025年工作。其中,金融支持“稳楼市”仍是今年的重点工作之一。多家金融机构表示,将持续支持房地产市场高质量发展。业内专家认为,房地产金融政策措施持续优化、形成合力,将有效提振市场各方预期,带动市场活跃度上升。
更好满足合理融资需求
2024年是房地产融资协调机制全面落地的第一年,截至目前,房地产融资协调机制已经支持1400万套住房建设交付。国家金融监督管理总局副局长肖远企表示,“白名单”机制为房地产项目建成交付提供了充足稳定的资金保障。截至2024年年底,商业银行房地产“白名单”项目贷款金额达5.03万亿元,超过了原来预计的4万亿元的预期目标。截至2025年1月22日,贷款金额又增加了5700亿元,房地产“白名单”项目的贷款金额已达到5.6万亿元

四、渭南楼市上周(2025年2月10日-2月16日)热门楼盘

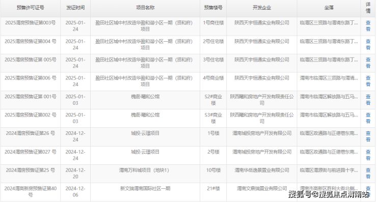
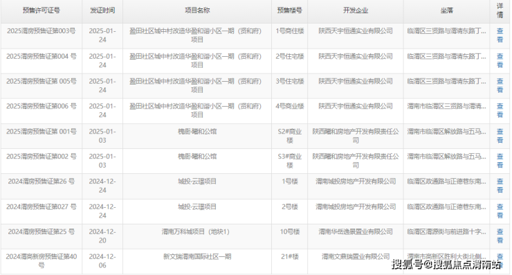
五、渭南楼市上周(2025年2月10日-2月16日)预售证公示信息
渭南楼市上周(2025年2月10日-2月16日),曦和公馆S2、曦和公馆S3商业配套、贤和府1#商住楼2#住宅楼3#住宅楼4#商业楼取得预售许可证,以下是近期公示信息。

六、渭南楼市上周土地挂牌出让信息(2025年2月10日-2月16日)
渭南楼市(2025年2月10日-2月16日)期间渭南市自然资源和规划局挂牌1宗商业(公共设施营业网点用地)用地挂牌出让信息,以下是近期土拍信息展示:

七、渭南一周热点资讯
1.城东持续完善交通路网 咱渭南居民要上塬可太方便啦(点击查看详情)
很多人对于渭南城东区的刻板印象是“相对陈旧”,然而近期有关城东区域规划的好消息却接二连三!首先是陇海铁路桥,是东塬进入城区的关键枢纽,从施工单位了解到,陇海铁路桥即将完成桥面及附属施工,5月即可达到通车条件。
打破刻板印象,城东的格调瞬间拔高,由此可见,居住在这一带的体验感,早已不是以往所认为的单一!对于有此想法的人,小编可以为大家推荐一处宝藏现房楼盘——广青东府,一梯一户纯板楼设计,绝对的“幸福住宅”!
2.100 万公积金额度已就位!渭南人,速抢吾悦旁大城生活入场券!(点击查看详情)
100万!!!2025年1月1日起,渭南市将实行最新公积金贷款政策——“双缴存职工家庭公积金贷款最高额度由70万元提高到100万元,单缴存职工家庭公积金贷款额度由60万元提高到70万元,多子女家庭及高层次人才在此基础上提高至1.2倍。”据悉,此次政策调整,是在深入调研本市住房市场现状、充分考量公积金缴存职工实际需求的基础上做出的重要决策。
面对如此力度的政策福利,大家不妨抓住当下购房机遇,到访通达·丽景沄上,即刻开启美好实景大城生活!
3.春节楼市整体成交平稳 一线城市示范效应明显(点击查看详情)
春节不仅是阖家团圆的时刻,也是观察房地产市场动态的关键窗口。今年春节,各地楼市成交如何?中指研究院数据显示,今年春节假期,全国楼市成交整体较为平稳,28个代表城市新房日均成交面积较去年同期增长8%,其中一线城市示范效应明显。
各地市场行情分化
从网签情况来看,一线城市中,广州新房成交数量较去年春节假期增长47%,北京较去年小幅增长5%;二线城市中,成都市场活跃度较高,同时由于基数较低,网签成交量较去年假期大幅增长,南京、南昌、温州等城市增幅同样明显。
4.2025年房地产市场政策目标明确 市场信心持续恢复(点击查看详情)
近日,国家发展和改革委员会党组书记、主任郑栅洁在《学习与研究》杂志发表署名文章时指出,2024年,多项房地产支持政策出台实施,市场信心有所修复,房地产市场呈现止跌回稳的积极势头。2025年,要持续用力推动房地产市场止跌回稳。
中指研究院政策研究总监陈文静在接受《证券日报》记者采访时表示,总的来看,2025年房地产市场政策目标明确,预计房地产市场各项政策将持续发力和落地,以进一步提振市场信心。
事实上,得益于去年从供给端到需求端一系列政策的支持,房地产市场止跌回稳迹象明显。
5.房地产贷款增速回升!央行公布最新数据!(点击查看详情)
2月14日,央行发布2024年四季度金融机构贷款投向统计报告。
中国人民银行统计,2024年四季度末,金融机构人民币各项贷款余额255.68万亿元,同比增长7.6%,全年人民币贷款增加18.09万亿元。
点击查看其他月份数据:https://weinan.focus.cn/zixun/shuju/

声明:本文由入驻焦点开放平台的作者撰写,除焦点官方账号外,观点仅代表作者本人,不代表焦点立场。
