渭南楼市一周数据 房企代建赛道发展进入新阶段
扫描到手机,新闻随时看
扫一扫,用手机看文章
更加方便分享给朋友
搜狐焦点渭南楼市一周播报,网罗渭南楼市较新动态,关注全面楼盘信息,惊爆楼市最全优惠。渭南楼市一周重点数据回顾,根据渭南信息公示网显示,渭南楼市上周网上签约套数38套,签约面积4969.85㎡,其中住宅套数31套,住宅面积3893.33㎡;商用套数7套;商用面积1076.52㎡;其他套数为0套,其他套数面积为0㎡。

一、渭南楼市上周(2025年1月6日-2025年1月12日)新房市场成交信息
渭南楼市一周重点数据回顾,根据渭南信息公示网显示,渭南楼市上周网上签约套数38套,签约面积4969.85㎡,其中住宅套数31套,住宅面积3893.33㎡;商用套数7套;商用面积1076.52㎡;其他套数为0套,其他套数面积为0㎡。

环比上周,总成交上涨10套,其中签约面积上涨1088.4㎡;住宅上涨4套,其中面积上涨127.74㎡;商用套数上涨7套,面积上涨1076.5㎡;其他套数下跌1套,其他套数面积下跌115.84㎡。
二、渭南楼市上周(2025年1月6日-2025年1月12日)二手房市场交易统计
渭南楼市二手房市场网上签约套数75套,签约面积7978.69㎡;其中住宅70套,住宅面积7605.4㎡;商用套数为0;商用面积0㎡;其他套数为5套,其他面积为373.29㎡。

环比上周,渭南楼市二手房总成交上涨36套,签约面积上周3380.1㎡;其中住宅上涨33套,住宅面积上涨3226.3㎡;商用套数持平,商用面积持平㎡;其他套数上涨3套,其他面积上涨153.78㎡。
三、去年超百家房企入局 代建赛道发展进入新阶段
代建行业的竞争愈发白热化。据亿翰智库监测数据,2024年,代建房企新增建筑面积达到约2.2亿平方米,较上年增长27%,新增建筑整体规模首次超过2亿平方米。尽管市场规模持续扩大,但增速下降26个百分点,行业发展进入新的阶段。
中指研究院最新发布的《2024年中国房地产代建企业排行榜》显示,2024年,28家典型代建企业代建新增规划建筑面积同比增长7.7%,这一增长速度相较于2018年至2023年的全国代建行业年平均增长速度有所下滑。其中,绿城管理以3649万平方米的新签约规划建筑面积稳居行业首位,旭辉建管和蓝城集团分别以1588万平方米和1570万平方米的新签约规划建筑面积紧随其后,位列第二和第三。
扫描下方二维码了解渭南楼市各大楼盘信息。另外,也可以直接拨打0913-2074369/13335353317,联系搜狐焦点渭南站购房者专家,了解渭南楼市概况。

四、渭南楼市上周(2025年1月6日-2025年1月12日)热门楼盘

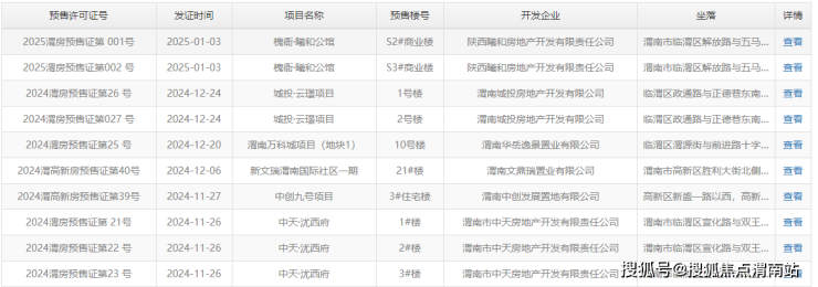
五、渭南楼市上周(2025年1月6日-2025年1月12日)预售证公示信息
渭南楼市上周(2025年1月6日-2025年1月12日),曦和公馆S2、曦和公馆S3商业配套取得预售许可证,以下是近期公示信息。

六、渭南楼市上周土地挂牌出让信息(2025年1月6日-2025年1月12日)
渭南楼市(2025年1月6日-1月12日)期间渭南市自然资源和规划局挂牌1宗商业用地挂牌出让信息,以下是近期土拍信息展示:

七、渭南一周热点资讯
1.2025返乡置业指南,满满干货教你怎么买好房 (点击查看详情)
利率调整、购房补贴、契税减免,正是安家置业的好时机。对于打拼在外卓有建树的渭南骄子来说,给亲人一个幸福的家,是他们奋斗的最大意义。怎样才能买到靠谱的好房子?这份《返乡置业指南》助你轻松安家。
2.渭南实景现房5190元/㎡起 置业支出毫无压力 (点击查看详情)
请收下这份攻略,让你年终置业不迷茫。返乡选广青东府,买房选纯板现房,对拼搏最好的犒赏!低密小高层5190元/㎡起,三大硬核理由,读懂您对家的期待!
3.广州:历史建筑修缮补助最高可达100万元/处(点击查看详情)
根据《补助办法》,非国有历史建筑修缮补助类别分为维护性修缮补助和修缮工程补助。维护性修缮补助每年可申领一次,按照每年80元/平方米予以发放,最低不少于8000元/处,最高不超过4万元/处。修缮工程补助按照钢筋混凝土框架结构、钢结构1000元/平方米,木结构、砖木结构、砖混结构1500元/平方米予以发放。
4.房贷利率迎来大幅下调,能省多少钱?一文详解(点击查看详情)
对于参考LPR报价浮动利率的商业住房贷款借款人,如果把房贷利率的重定价日选在了2025年1月1日,将迎来房贷利率的大幅下调。不仅是商业房贷,住房公积金存量个人住房贷款,也从1月1日起执行新的利率。
5.上海楼市率先“止跌企稳”,一年出了超60个“日光盘” (点击查看详情)
在一系列政策利好之下,上海楼市在2024年迎来了近十年政策最宽松的时期,市场逐步呈现出企稳回稳势头。
二手房市场火爆收官,在最后一个月网签成交达到2.97万套,创下了近四年来的最高水平;新房则由豪宅引领,走出独立行情,多个楼盘开盘即罄,总价3000万元以上一手高端住宅成交量在全国范围内占比超6成。
点击查看其他月份数据:https://weinan.focus.cn/zixun/shuju/

声明:本文由入驻焦点开放平台的作者撰写,除焦点官方账号外,观点仅代表作者本人,不代表焦点立场。
