北京发布2024年第一轮拟供项目清单,共计23宗地140公顷
扫描到手机,新闻随时看
扫一扫,用手机看文章
更加方便分享给朋友
2月21日,北京市规划和自然资源委员会网站发布了“2024年度第一轮拟供应商品住宅用地清单”,清单项目将于2024年2月21日至5月31日供应。
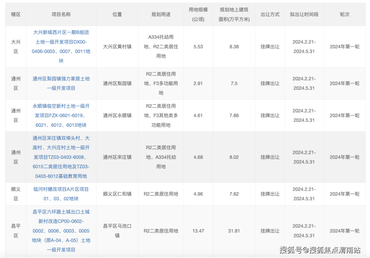
一轮次清单共涉及23宗地,土地面积约140公顷,建筑规模285万平方米。23宗地块分别位于东城区(1宗)、朝阳区(4宗)、海淀区(1宗)、丰台区(1宗)、石景山区(2宗)、大兴区(2宗)、通州区(3宗)、顺义区(1宗)、昌平区(2宗)、房山区(2宗)、亦庄开发区(2宗)、怀柔区(1宗)、密云区(1宗)。
据微信公众号“北京规划自然资源”消息,从推出地块看,一轮次加大了优质地块的供应,有9宗54公顷位于中心城区,占比约四成;有12宗69公顷位于城市副中心和平原多点地区,占比约五成;有2宗17公顷位于生态涵养区,占比约一成。此外,清单中有近九成项目位于轨道交通站点周边、“两区”与“三城一区”范围以及城南计划覆盖区域等重点功能区,着力引导产城融合,推进职住平衡。
北京市规划自然资源委表示,北京将认真贯彻中央经济工作会议精神,坚持“稳中求进、以进促稳”,扎实推进商品住宅用地供应工作。2024年将继续做好拟供项目信息发布工作,通过“多频少量”供应方式保持供地节奏均衡,优化“房地联动”促进市场预期稳定,为首都经济社会高质量发展提供要素保障。





(来自澎湃新闻)
声明:本文由入驻焦点开放平台的作者撰写,除焦点官方账号外,观点仅代表作者本人,不代表焦点立场。
