渭南楼市一周数据回顾 利好来袭购房成本持续降低
扫描到手机,新闻随时看
扫一扫,用手机看文章
更加方便分享给朋友
搜狐焦点渭南楼市一周播报,网罗渭南楼市较新动态,关注全面楼盘信息,惊爆楼市最全优惠。渭南楼市一周重点数据回顾,根据渭南信息公示网显示,渭南楼市上周网上签约套数51套,签约面积6027.21㎡,其中住宅套数35套,住宅面积4551㎡;商用套数为12套。商用面积为728.15㎡;其他套数为4套,其它面积748.06㎡。

一、渭南楼市上周(2024年7月22日-7月28日)新房市场成交信息
渭南楼市一周重点数据回顾,根据渭南信息公示网显示,渭南楼市上周网上签约套数51套,签约面积6027.21㎡,其中住宅套数35套,住宅面积4551㎡;商用套数为12套。商用面积为728.15㎡;其他套数为4套,其它面积748.06㎡。

环比上周,总成交上涨22套,其中签约面积上涨2423.35㎡;住宅上涨7套,住宅面积上涨1013.94㎡;商用套上涨12套,商用面积上涨728.15㎡;其他套数上涨3681.26套,其它面积上涨66.80㎡。
二、渭南楼市上周(2024年7月22日-7月28日)二手房市场交易统计
2024年7月22日-7月28日,渭南楼市二手房市场网上签约套数86套,签约面积9606.97㎡;其中住宅套数79套,住宅面积8995.91㎡;商用套数为0;其他套数为7套,其他面积611.06㎡。

环比上周,渭南楼市二手房总成交上涨10套,其中签约面积上涨1357.51㎡;其中住宅上涨5套,住宅面积上涨872.15㎡;商用套数下跌2套,商用面积下跌49.93;其他套数下跌5套,其他面积下跌303.52㎡。
三、利好来袭购房成本持续降低
楼市再迎重磅利好!7月22日,中国人民银行授权全国银行间同业拆借中心公布最新贷款市场报价利率(LPR),1年期LPR、5年期以上LPR均下调10个基点,分别由3.45%、3.95%调整为3.35%、3.85%。这意味着购房者的房贷月供负担时隔五个月再次降低。
近期,多位渭南受访业内人士分析称,当前各地房贷利率均处在较低水平,部分城市部分银行首套房贷利率已降至3.0%以下,此轮LPR下调有助于引导首套房贷利率进一步下行,渭南购房者购房成本将持续降低。
本次调整后,1年期和5年期利率均下调10个基点。以首套房贷100万元、贷款期间30年、等额本息还款方式计算,此次LPR下降,月供可减少约57.3元,总贷款利息减少2.1万元左右。
从渭南楼市实际情况看,包括中创·天悦、光合宸院、渭南万科城、通达·丽景沄上、中海学府里、广青东府在内的多个热门楼盘,在近期都迎来上客量和成交涨幅。
扫描下方二维码了解渭南楼市各大楼盘信息。另外,也可以直接拨打0913-2074369/13335353317,联系搜狐焦点渭南站购房者专家,了解渭南楼市概况。

四、渭南楼市上周(2024年7月22日-7月28日)热门楼盘

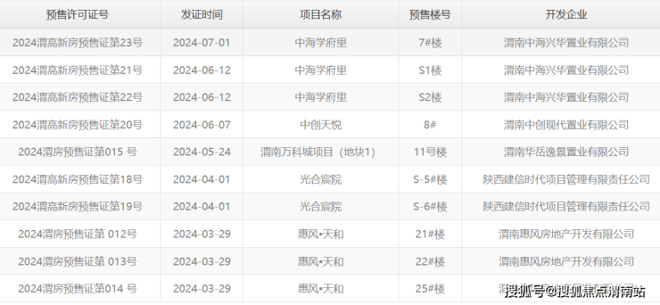
五、渭南楼市上周(2024年7月22日-7月28日)预售证公示信息
渭南楼市上周(2024年7月22日-7月28日),暂无预售证公示信息,以下是近期公示信息。

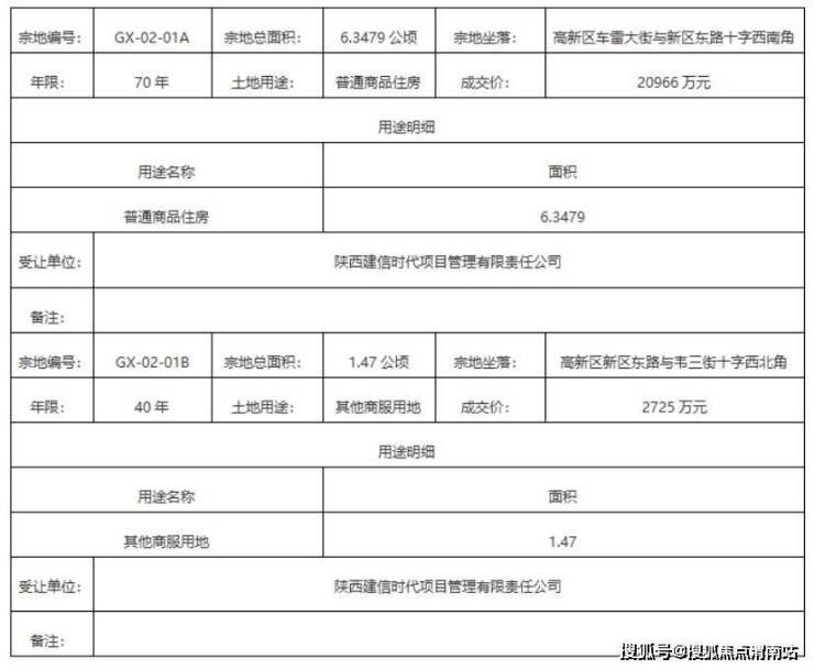
六、渭南楼市上周土地挂牌出让信息(2024年7月22日-7月28日)
渭南楼市(2024年7月22日-7月28日)期间,暂无土地挂牌出让信息,以下是近期土拍信息展示。
七、渭南一周热点资讯
1、渭南到底什么样的社区商铺 才能做到财源滚滚(点击链接查看详细信息)
我们以近期热销全城的光合宸院社区商铺为例,30-150㎡的小面积、低总价,再加上社区已全面交付,现房呈现,光合宸院社区商铺凭借诸多优势,成为目前市场上炙手可热的投资产品。
2、配套和价格仍是渭南购房者的重点关注 这些楼盘值得深入了解(点击链接查看详细信息)
在渭南,买房早已不再是只看单一条件,配套是否齐全,是否能支撑起生活的各项需求才是重中之重。同时,最为现实关注的,当然是价格,毕竟价格能否被接受,才是最终敲定的重要条件。那么在渭南,有哪些配套齐全、价格合适的楼盘呢?
3、把握年度热销楼盘 中创·天悦高性价比值得“上车”(点击链接查看详细信息)
在渭南,像中创·天悦这样,既能够做到略低的价格,又能保障在品味、品质、生活方式上做到全方位创新的,放眼整个渭南楼市,并不多。现如利率不断下调,置业良机已到,项目实景准现房呈现,今年买明年住,可谓是优势满满。
4、高质生活始于邻 在渭南拥有一个纯粹圈层是什么体验(击链接查看详细信息)
例如城芯吾悦旁即将交付的通达·丽景沄上,位于渭南核心地段,屹立于都市繁华中心,俯瞰这座城市每一寸魅力。通达·丽景沄上吸引着渭南品味阶层不断入住,这些人拥有着同样的价值观,打造属于渭南城芯独有的圈层魅力社交。
5、这年头 在渭南买房就是“豪赌” 想要求稳 还得是现房(点击链接查看详细信息)
置业的安全感,不是一张图纸的描绘,而是一栋栋楼体的呈现,因为这才能够给与购房者眼见为实的安心与诚意。在购房过程中,期房和现房也存在着明显的区别,今天我们以渭南城东即买即办证的现房楼盘——广青东府为例,一起来详细的分析一波……
点击查看其他月份数据:https://weinan.focus.cn/zixun/shuju/
声明:本文由入驻焦点开放平台的作者撰写,除焦点官方账号外,观点仅代表作者本人,不代表焦点立场。
