渭南楼市一周数据回顾 回暖不易渭南楼市后续如何平稳发展?
扫描到手机,新闻随时看
扫一扫,用手机看文章
更加方便分享给朋友
搜狐焦点渭南楼市一周播报,网罗渭南楼市较新动态,关注全面楼盘信息,惊爆楼市最全优惠。渭南楼市一周重点数据回顾,根据渭南信息公示网显示,渭南楼市网上签约套数55套,签约面积6289.57㎡,其中住宅套数52套,住宅面积6096.46㎡;商用套数2套,商用面积136.09㎡,其他套数1套,面积57.02㎡。

一、渭南楼市上周(2023年3月6日-3月12日)新房市场成交信息
渭南楼市网上签约套数55套,签约面积6289.57㎡,其中住宅套数52套,住宅面积6096.46㎡;商用套数2套,商用面积136.09㎡,其他套数1套,面积57.02㎡。

环比上周,总成交下跌22套,其中签约面积下跌3329.2㎡;住宅下跌25套,住宅面积上涨3130.57㎡;商用套数下跌3套,商用面积下跌44.57㎡;其他套数下持平,面积下跌154.06㎡。
二、渭南楼市上周(2023年3月6日-3月12日)二手房市场交易统计
2023年3月6日-3月12日,渭南楼市二手房市场网上签约套数65套,签约面积6858.45㎡;其中住宅套数59套,住宅面积6422.93㎡;商用套数0套;其他6套,其他面积435.52㎡;

环比上周,总成交下跌11套,其中签约面积下跌1553.75㎡;其中住宅下跌12套,住宅面积上涨1591.92㎡;商用套数下跌1套,签约面积下跌40.57㎡;其他面积上涨2套,其他面积上涨78.74㎡。
三、楼市回暖来之不易,渭南楼市如何平稳发展?
今年以来,从业内再到购房者,关于渭南楼市回暖、楼盘热销的信息层出不穷。类似光合宸院20天劲销1个亿,信达·高新云著开盘热销、通达·丽景沄上以及广青东府到访量加成交量翻番,都给予了整个市场强有力的冲击。那么,渭南房地产发展走势如何?房价会不会暴涨?
首先从价格方面来看,2023年2月新房成交均价6465元/㎡,环比2023年1月新房成交均价6441元/㎡,每平方米上涨24元;同比2022年2月新房成交均价6401元/㎡,每平方上涨64元。可以说基本上处在了一个平稳的态势。此外,后期因土地价格成本上涨、国家政策导向等因素,暴跌和大涨的可能性都是微乎其微。
我们再来看看大背景,在今年的工作重点中,房地产相关工作主要被置于三个工作大项下。在“着力扩大国内需求”的工作大项下,政府工作报告提出,实施城市更新行动。在“有效防范化解重大经济金融风险”的工作大项下,政府工作报告指出,有效防范化解优质头部房企风险,改善资产负债状况,防止无序扩张,促进房地产业平稳发展。在“保障基本民生和发展社会事业”的工作大项之下,政府工作报告指出,加强住房保障体系建设,支持刚性和改善性住房需求,解决好新市民、青年人等住房问题。
如此看来,防风险与保民生并重的情况下,渭南房地产如何实现平稳发展?保持目前良好的势头,就成了关键的话题。搜狐焦点认为,改善企业资产负债表、促进市场升温、强化预期等措施,都将促进房地产投资的复苏,这些措施也不会在短期内退出。

四、渭南楼市上周(2023年3月6日-3月12日)热门楼盘

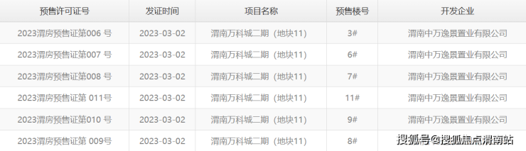
五、渭南楼市上周(2023年3月6日-3月12日)预售证公示信息
渭南楼市上周(2023年3月6日-3月12日)累计1家房企获得预售证,共计推出房源套,以下是近期预售证发布情况展示;
渭南万科城二期(地块11)3#楼12套、6#楼24套、7#楼86套、8#楼52套、9#楼48套、11#楼24套,累计246套。

六、渭南楼市上周土地挂牌出让信息
渭南楼市(2023年3月6日-3月12日)期间,渭南楼市暂无土地挂牌出让信息,以下是往期信息公示。

七、渭南一周热点资讯
1、2023年2月房地产新政
政策方面继续以化解风险,支持房地产市场发展为主。2月16日,《求是》发表习近平总书记重要文章,提出要防范房地产业引发系统性风险。证监会启动不动产私募投资基金试点,投资范围包括特定居住用房(包括存量商品住宅、保障性住房、市场化租赁住房)、商业经营用房、基础设施项目等。
2、中国金融监管体系大变革
中国金融监管体系再迎重磅变革。3月7日,受国务院委托,国务委员兼国务院秘书长肖捷作关于国务院机构改革方案的说明。根据方案,关于金融机构改革的内容大体有以下6项。(点击链接延伸阅读)
3、渭南楼市2023年2月新房均价6465元/㎡ 成交844套
渭南楼市2023年2月新房成交数据报告:搜狐焦点网数据中心针对渭南楼市在售的43个楼盘进行抽样调查统计,渭南楼市2023年2月新房成交均价6465元/㎡,成交套数844套,成交面积18390.58㎡。
4、94㎡小三室,6.4米通透大阳台!采光无敌!视野无遮挡,渭南罕见!
点击查看其他月份数据:https://weinan.focus.cn/zixun/shuju/
声明:本文由入驻焦点开放平台的作者撰写,除焦点官方账号外,观点仅代表作者本人,不代表焦点立场。
