渭南楼市一周数据回顾 央行会“降息”以支持楼市吗?
扫描到手机,新闻随时看
扫一扫,用手机看文章
更加方便分享给朋友
搜狐焦点渭南楼市一周播报,网罗渭南楼市较新动态,关注全面楼盘信息,惊爆楼市最全优惠。渭南楼市一周重点数据回顾,根据渭南信息公示网显示,渭南楼市上周网上签约套数29套,签约面积3603.86㎡,其中住宅套数28套,住宅面积3537.06㎡;商用套数为0;其他套数为1,其它面积66.80㎡。

一、渭南楼市上周(2024年7月15日-7月21日)新房市场成交信息
渭南楼市一周重点数据回顾,根据渭南信息公示网显示,渭南楼市上周网上签约套数29套,签约面积3603.86㎡,其中住宅套数28套,住宅面积3537.06㎡;商用套数为0;其他套数为1,其它面积66.80㎡。

环比上周,总成交上涨3套,其中签约面积上涨433.26㎡;住宅上涨4套,住宅面积上涨451.92㎡;商用套下跌2套,商用面积下跌85.46㎡;其他套数上涨1套,其它面积上涨66.80㎡。
二、渭南楼市上周(2024年7月15日-7月21日)二手房市场交易统计
2024年7月15日-7月21日,渭南楼市二手房市场网上签约套数76套,签约面积8249.46㎡;其中住宅套数74套,住宅面积8123.76㎡;商用套数为0;其他套数为2套,其他面积125.70㎡。

环比上周,渭南楼市二手房总成交下跌16套,其中签约面积下跌1574.62㎡;其中住宅下跌9套,住宅面积下跌1221.17㎡;商用套数下跌2套,商用面积下跌49.93;其他套数下跌5套,其他面积下跌303.52㎡。
三、央行会“降息”以支持楼市吗?
7月MLF继续缩量续作,利率保持不变。然而,近期业内普遍认为,LPR或将迎来改进,在淡化MLF后,LPR形式上脱锚,调降空间得以打开。6月楼市成交回暖,创下年内新高,那么7月央行是否会降息以加码支持楼市呢?
央行可能会在7月份单独降低LPR,以遏制当前的货币现象,即“长债利率走低 → 提前还贷加速 → 银行被动缩表”的链式反应。此外,央行在陆家嘴论坛上已明确表示将淡化MLF的政策作用,预计未来MLF将主要以缩量操作为主。
房地产市场方面,国家统计局发言人指出,随着政策的逐步调整和优化,市场活跃度有所提升。上半年新建商品房销售面积和销售额虽然同比下降,但降幅有所收窄。同时,保障性住房建设等“三大工程”的推进,为房地产市场的发展提供了新的动力。
扫描下方二维码了解渭南楼市各大楼盘信息。另外,也可以直接拨打0913-2074369/13335353317,联系搜狐焦点渭南站购房者专家,了解渭南楼市概况。

四、渭南楼市上周(2024年7月15日-7月21日)热门楼盘

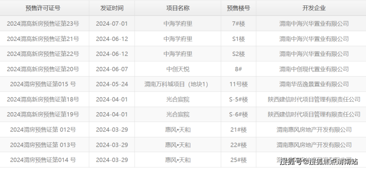
五、渭南楼市上周(2024年7月15日-7月21日)预售证公示信息
渭南楼市上周(2024年7月15日-7月21日),中海学府里7#楼累计56套房源获得预售证,以下是近期公示信息。

六、渭南楼市上周土地挂牌出让信息(2024年7月15日-7月21日)
渭南楼市(2024年7月15日-7月21日)期间,暂无土地挂牌出让信息,以下是近期土拍信息展示。
七、渭南一周热点资讯
1、中创·天悦实力圈粉 全面解码渭南红盘热销真相(点击链接查看详细信息)
热销,是市场鉴定产品的根本,更是大家对品牌实力的认可。目前,中创现代置业旗下中创·天悦项目持续热销、圈粉无数,目前已经成为渭南楼市的一个标杆项目。
2、多元业态“钱”力无限 渭南宝藏楼盘赶快来看看(点击链接查看详细信息)
结合渭南实际情况来看,目前能够做到全盘实景现房,且在体量上有一定规模的,必须是高新前沿热门楼盘光合宸院,该项目目前约30-150㎡多业态现铺热销,小面积、低总价,为很多人投资带来了更多、更直接的选择。
3、选对地方 买房就是回馈优厚的投资 渭南吾悦旁这个地段怎么样(点击链接查看详细信息)
通达地产作为当地本土企业,对房地产开发各项工作都细致有加,择址更是“优上优”。比如旗下正在热销的通达·丽景沄上,选址渭南城芯仓程路中段,吾悦东邻,由于土地资源稀缺,城市中心的房子具有很强的保值增值能力,且地理位置优越、配套资源高度集中、生活便利性大……如此看来,通达·丽景沄上的投资价值可想而知。
4、买房入住不想等数年?渭南这些现房/准现房楼盘直接帮你圆梦(击链接查看详细信息)
如今配套已成为居家择址的重要考量因素,便捷的生活配套,不仅是日常生活的保障,更是地块潜力和生活品质的彰显。很显然,渭南市中心地段依旧是很多人的梦想住址,从“买房”到“买生活”,即将交付的通达·丽景沄上带你进入“全配套”时代!
5、渭南楼市2024年6月新房成交均价6396元/㎡ 成交262套(点击链接查看详细信息)
渭南楼市2024年6月新房成交数据报告:搜狐焦点网数据中心针对渭南楼市在售的43个楼盘进行抽样调查统计,渭南楼市2024年6月新房成交均价6396元/㎡,成交套数262套,成交面积34061.48㎡。
点击查看其他月份数据:https://weinan.focus.cn/zixun/shuju/
声明:本文由入驻焦点开放平台的作者撰写,除焦点官方账号外,观点仅代表作者本人,不代表焦点立场。
