渭南楼市一周数据 “好房子”带来的热度会持续吗
扫描到手机,新闻随时看
扫一扫,用手机看文章
更加方便分享给朋友
搜狐焦点渭南楼市一周播报,网络渭南楼市最新动态,关注全面楼盘信息,惊爆楼市最全优惠。渭南楼市一周重点数据回顾,根据渭南信息公示网显示,渭南楼市上周网上签约套数43套,签约面积5971.54(㎡),其中住宅套数35套,住宅面积4540.72(㎡);商用套数为5,商用面积1098.51(㎡);其他套数为3套,其他面积为332.31(㎡)。

一、渭南楼市上周(2026年3月30日-2026年4月5日)新房市场成交统计
渭南楼市一周重点数据回顾,根据渭南信息公示网显示,渭南楼市上周网上签约套数43套,签约面积5971.54(㎡),其中住宅套数35套,住宅面积4540.72(㎡);商用套数为5,商用面积1098.51(㎡);其他套数为3套,其他面积为332.31(㎡)。

环比上周,渭南楼市新房网上签约套数上涨4套,其中签约面积下降316.4(㎡);住宅套数下降1套,住宅面积下跌917.7(㎡);商用套数上涨2套,商用面积上涨359.03(㎡);其他套数上涨2套,其他面积上涨242.35(㎡)。
二、渭南楼市上周(2026年3月30日-2026年4月5日)二手房市场成交统计
渭南楼市二手房市场网上签约套数97套,签约面积10446.98(㎡);其中住宅86套,住宅面积9450.24(㎡);商用套数为1;商用面积63.93(㎡),其它套数为10套,其他面积932.81(㎡)。

环比上周,渭南楼市二手房总成交上涨12套,签约面积上涨1015.61(㎡);其中住宅上涨6套,住宅面积上涨478.24(㎡);商用套数上涨1套,商用面积上涨63.93㎡;其他套数上涨5套,其他面积上涨473.44(㎡)。
三、“好房子”带来的热度会持续吗
近期,房地产市场呈现新动向,在需求释放带动下,一些城市房地产市场有所修复,二手房成交好于新房,北京、上海等城市房地产市场率先回暖,土地市场中核心城市优质地块关注度较高,并且有的以高溢价成交。2026年,着力稳定房地产市场仍是重要任务,各地应持续因城施策控增量、去库存、优供给,改善房地产供求关系,修复市场信心。

四、渭南楼市上周(2026年3月30日-2026年4月5日)热门楼盘

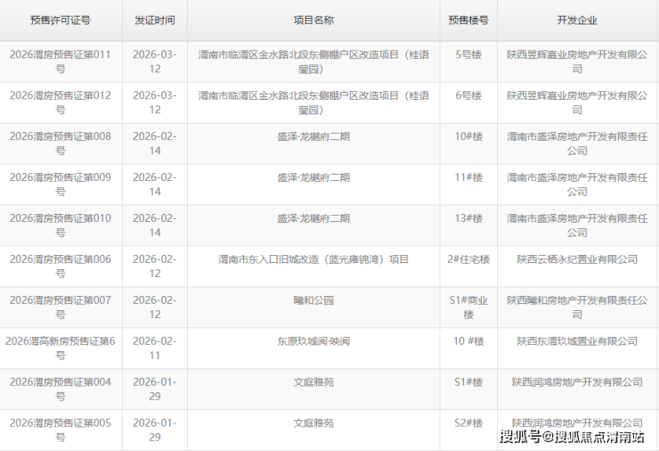
五、渭南楼市上周(2026年3月30日-2026年4月5日)预售证公示信息
渭南楼市上周2026年3月30日-2026年4月5日,近期详细信息如下:

六、渭南楼市上周土地挂牌出让信息(2026年3月30日-2026年4月5日)
渭南楼市2026年3月30日-2026年4月5日,暂无土地挂牌出让信息,以下是近期土拍信息公示。

七、渭南一周热点资讯
1.以现房笃定,藏尽生活本真——通达·丽景沄上清盘启幕(点击查看详情)
临渭的城芯,从不缺奔赴繁华的脚步,却难得一处“所见即所得”的踏实居所。当多数楼盘还在贩卖图纸上的憧憬,通达·丽景沄上早已将理想生活落地,以城芯稀缺现房,敬呈渭南人最朴素的居住期许,也为临渭城芯人居画上圆满终章。
2.首付下调、额度提升、提取放宽,湖北公积金新政密集落地(点击查看详情)
近日,湖北多地积极优化公积金使用政策,结合本地实际出台了一系列实施细则。公积金新政围绕支持城市更新、扩大使用范围、降低贷款门槛、便利异地业务、优化住房套数认定等核心领域,推出了多项实实在在的惠民举措,政策红利加速释放。
3.报告|典型房企3月销售倍增,但拿地仍偏谨慎(点击查看详情)
3月LPR报价出炉,据央行网站消息,中国人民银行授权全国银行间同业拆借中心公布,2026年3月20日贷款市场报价利率(LPR)为:1年期LPR为3.0%,5年期以上LPR为3.5%,均保持不变。那么,渭南近期有哪些靠谱楼盘可选?搜狐焦点渭南站为大家做一介绍。
4.渭南二手房最新出手信息 依林园精装55万满二可按揭(点击查看详情)
来搜狐焦点房超市!这里有海量优质渭南二手房供您挑选、这里有免费的看房直通车带您轻松找好房,这里有优秀的渭南二手房房产经纪人给您最专业的建议。

声明:本文由入驻焦点开放平台的作者撰写,除焦点官方账号外,观点仅代表作者本人,不代表焦点立场。
